山東萬象環境科技有限公司
聯系人:周經理
銷售電話:19853697985
銷售QQ:3836021633
公司地址:山東省濰坊高新區新城街道玉清社區光電路155號濰坊高新區光電產業加速器(一期)1號樓301

聯系人:周經理
銷售電話:19853697985
銷售QQ:3836021633
公司地址:山東省濰坊高新區新城街道玉清社區光電路155號濰坊高新區光電產業加速器(一期)1號樓301

浮標水質在線監測站又稱浮標水質監測站,水質浮漂監測站,浮標水質在線監測站搭載了高精度的水質傳感器,能夠精準捕捉水質各參數變化情況,確保監測數據的準確性和可靠性,可應用在工農業生產、旅游、城市環境監測、地質災害、防洪、供水調度、電站水庫水情管理等為目的水文自動測報系統
1.水質浮漂監測站SFA集數據采集、存儲、傳輸和管理于一體的無人值守的采集系統。它在工農業生產、旅游、城市環境監測、地質災害、防洪、供水調度、電站水庫水情管理等為目的水文自動測報系統;功能強大的上位機軟件可遠程觀測實時水雨情信息,具有數據庫、報表、下載等功能,用戶還可利用該功能完善的氣象軟件對記錄的數據作進一步的處理分析。
2.SFA04款浮標是由水質傳感器(水溫、電導率、PH、溶解氧)、數據采集儀、通訊系統、供電系統、整體 支架、水質監測平臺六部分組成。同時可擴展氨氮、 濁度、COD等多項水質要素。數據采集儀具有數 據采集、實時時鐘、數據定時存儲、參數設定和標準2G/4G(GPRS)通信功能。
二、產品特點
1.易部署:各類型探頭進行高度集成,安裝方便;提供免費云平臺服務,系統快速上線;
2.易維護:設備安裝后,自行工作即可,無需人工值守,也可以通過遠程監控的方式保障設備的正常運行;
3.易擴展:傳感器探頭均使用統一的通信協議,可以快速對接原設備,快速擴展監測參數;
4.低功耗:設備可以實現低功耗狀態下,長時間運行,增加設備使用的便利性;
5.實時性:設備監測到的數據實時傳輸至云平臺,提升環境數據反饋的及時性。
三、技術參數
1. 主體參數
產品名稱 | 描述 |
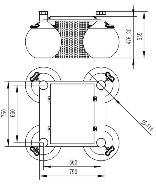
環境水質監測浮標 | 可實時實現多路參數在線監測。 可實現電池電量監控。 可實現云平臺數據監控、數據推送、 數據的存儲和報警功能;數據的無線發射功能。 峰值功耗為 5W;傳感器功耗 0.25W左右/只。 外形尺寸:750mm*750mm*535mm。浮球直徑414mm 重量:22kg |
采集器數據采集 | 運行可靠,抗干擾,可集成多路RS485/MODBUS-RTU 從站設備 |
采集器數據輸出 | 1 路 Rs485/JSON協議輸出 |
電池 | 鋰電池 12VDC,20AH(默認) |
太陽能電池板 | 22.1V/50W(默認) |
供電能力 | 定制選型;陰雨天間歇工作 5天以上 |
位置指示 (選配) | 警示燈;GPS 定位; |
監測平臺 | 云平臺;手機/電腦多終端登錄 |
防護罩 | 304 不銹鋼濾筒防護罩 |
浮體 | 直徑414mm 球形浮體*4工程塑料 |
2.可選配傳感器的主要參數
| 序號 | 名稱 | 測量范圍 | 測量原理 | 測量精度 | 是否標配 | 備注 |
| 1 | 溫度 | 0~50℃ | 高精度數字傳感器 | ±0.3℃ | ? | |
| 2 | pH | 0~14(ph) | 電化學(鹽橋) | ± 0.1PH | ? | |
| 3 | ORP | -1500mv~1500mv | 電化學(鹽橋) | ± 6mv | ||
| 4 | 電導率 | 0~5000uS/cm | 接觸式電極法 | ± 1.5% | ? | |
| 5 | 濁度 | 0~40NTU(低濁) | 散射光法 | ± 1% | 低濁可定制 | |
| 0~1000NTU(中濁) | 散射光法 | ± 1% | 中濁可定制 | |||
| 0~3000NTU(高濁) | 散射光法 | ± 1% | 默認發 | |||
| 6 | 溶解氧 | 0~20mg/L | 熒光壽命法 | ± 2% | ? | |
| 7 | 氨氮 | 0~100mg/l | 離子選擇電極法 | ±1mg | ||
| 8 | cod | 0~500mg/ L | UV254 吸收法 | ±5% | 默認發、cod濁度一體 | |
| 濁度 | 0~400NTU | 散射光法 | ± 1% | |||
| 9 | 懸浮物 | 0~2000mg/L | 散射光法 | ±5%(取決于污泥同質性) | ||
| 10 | 葉綠素 | 0~400ug/L | 熒光法 | R2>0.999 |
四、產品尺寸圖

五、設備安裝要求
1.遠離大功率無線電發射源
2.遠離高壓輸電線和微波無線電傳送通道
3.盡量靠近數據傳輸網絡
4.遠離強電磁干擾
六、云平臺介紹
1.CS架構軟件平臺,支持手機、PC瀏覽器直接觀測.無需額外安裝軟件。
2.支持多帳號、多設備登錄
3.支持實時數據展示與歷史數據展示儀表板
4.云服務器.云數據存儲,穩定可靠,易于擴展,負載均衡。
5.支持短信報警及閾值設置
6.支持地圖顯示、查看設備信息。
7.支持數據曲線分析
8.支持數據導出表格形式
9.支持數據轉發,HJ-212協議,TCP轉發,http協議等。
10.支持數據后處理功能
11.支持外置運行javascript腳本
WX-SFB06浮標監測站有著獨特的“隨波逐流”特性,它不像固定在岸邊的監測設備那樣位置固定,而是憑借自身的浮力結構,漂浮在水面上,隨著水流和波浪的節奏移動。這種靈活性讓它能夠覆蓋更大范圍的水域,無論是近海的淺灘,還是遠離陸地的深海區域,它都能到達并開展監測工作。就像一個勇敢的探險家,深入水域的各個角落,探尋著水域的秘密。...
WX-S5氨氮傳感器采用先進的電化學或光學原理,能夠迅速、準確地檢測出水體中的氨氮濃度,并將數據實時傳輸到監測中心或移動設備上。這種傳感器不僅具有高度的靈敏度和穩定性,而且操作簡便、維護方便,適用于各種水質監測場景。氨氮傳感器在水質監測中的應用工業廢水處理:在工業生產過程中,氨氮傳感器可以實時監測廢水中的氨氮含量,為廢水處理提供科學依據,確保廢水排放符合環保標準。...
傳統的水質監測站往往需要大量人力進行值守和維護,不僅效率低下,而且成本高昂。而這款WX-SFA04標準款浮標四參數水質監測站則采用了先進的無人值守技術,通過智能傳感器和自動化控制系統,實現了對水溫、pH值、溶解氧和濁度等四項關鍵水質參數的實時監測和數據分析。無需人工干預,系統便能自動完成數據采集、處理和傳輸,大大提高了水質監測的效率和準確性。...
水資源監測系統可以及時、準確的掌握水質的動態變化。經濟的發展,人們開始對水資源不節制的開發和利用,在工業重鎮幾乎已經看不到清澈的河流,取而代之的是惡臭的污水。加上對河流的保護措施薄弱,工業排污、農業生產、水產養殖等造成大量江河湖泊的污染。水質監測站的使用迫在眉睫。 WX-LSZ06水...
WX-ZS06六參數水質在線分析儀的獨特之處在于其集成化的監測能力,六個關鍵參數的同時測量,構建起評估水質狀況的立體框架。水溫變化影響著水生生物的代謝活動,電導率反映著水中離子的總濃度,PH值關系著化學反應的平衡狀態,溶解氧直接決定生物的存活可能,氨氮含量暗示著有機污染的程度,濁度則直觀顯示著水體的清澈狀況。這些指標相互印證,共同描繪出水質的真實面貌。...
WX-SS6便攜式ORP檢測儀最核心的優勢就是 “便攜”,它體積小巧、重量輕便,單手即可攜帶,無論是在魚塘邊、污水處理廠的反應池旁,還是在野外水源地,都能隨時拿出檢測。不像大型 ORP 檢測設備需要固定安裝、連接復雜線路,它能跟隨工作人員的腳步,深入到需要監測的現場,讓每一處水質的 ORP 狀況都能被快速捕捉,大大提升了檢測的靈活性。...